





.
.
Points Clés
| Caractéristiques |
|---|
| Faible consommation |
| Largement utilisé |
| Taille compacte |
| Performance stable |
| Artisanat exquis |
L’avis de nos clients
Aucun avis n’est disponible pour le moment.
Description du produit
Caractéristiques
1. Faible consommation
2. Largement utilisé
3. Taille compacte
4. Performance stable
5. Artisanat exquis
Introduction:
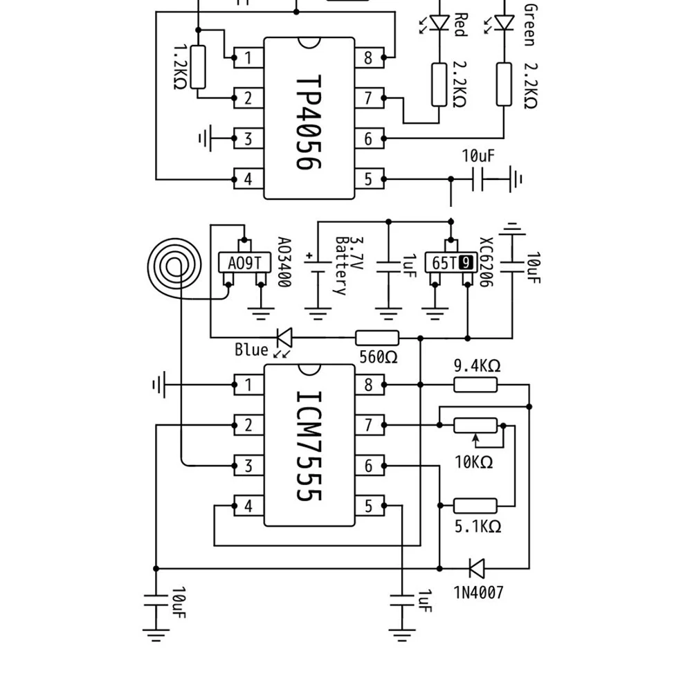
Générateur d’ondes Schumann, nous l’appelons générateur d’ondes Tesla. Nous plaisantons généralement à ce sujet comme un générateur d’onde métaphysique. C’est essentiellement une onde électromagnétique de très basse fréquence (ELF). Selon la multiplication de la vitesse de la longueur d’onde de la lumière par la fréquence, la longueur d’onde des ondes électromagnétiques à 7.83HZ est de 38000 kilomètres, qui est très proche de la circonférence bien connue de la Terre de 40000 kilomètres. En fait, les ondes Tesla sont une propriété inhérente des caractéristiques géophysiques, formant une cavité de résonance électromagnétique sur la surface et l’ionosphère. 7.83HZ est la fréquence naturelle de cette cavité de résonance, et lorsqu’elles sont émises à une telle fréquence, les ondes électromagnétiques formeront des ondes stationnaires dans l’espace terrestre, supporteront les tremblements de terre pendant une longue période.
Paramètres:
Mode de travail: puissance
Onde électromagnétique extrêmement basse fréquence 7.83Hz: 0.3mW sans aucun son
Autonomie de la batterie: environ 1 an
Taille du produit: 16.5*13*3.5cm
Méthode de charge: batterie au lithium 2000mA intégrée, charge à l’aide de l’interface universelle Type-c du téléphone (le chargeur de téléphone est suffisant, le courant est illimité)
Voyant rouge allumé en permanence: charge en cours
Long feu vert: plein
Lumière bleue clignotante: état d’émission
Lumière éteinte: arrêt/batterie épuisée
Tension d’alimentation électrique: 5V1A
Le paquet comprend
1 * générateur d’onde Schumann
1 * cordon d’alimentation Type-c












Avis de l’expert
Le générateur d’impulsions mortes à onde Schumann 7.83HZ, résonateur audio DC 5V est un produit fiable et performant. Ses points forts incluent une faible consommation, une taille compacte et un artisanat exquis. Il est largement utilisé et offre une performance stable. Grâce à sa batterie au lithium intégrée, il a une autonomie d’environ 1 an. Il peut être chargé facilement à l’aide d’un chargeur de téléphone via son interface Type-c.
FAQ
Quelle est la fréquence de l’onde Schumann émise par ce générateur d’impulsions mortes ?
La fréquence de l’onde Schumann émise est de 7.83HZ.
Quelle est l’autonomie de la batterie de ce générateur d’impulsions mortes ?
La batterie a une autonomie d’environ 1 an.
